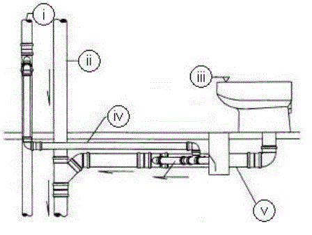
As ligações da coluna de ventilação aos demais componentes do sistema de ventilação ou do sistema de esgoto sanitário devem ser feitas com conexões apropriadas. Na figura a seguir, adaptada da ABNT NBR 8.160:1999, o ramal de ventilação está indicado por
