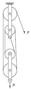
Um sistema constituído de roldanas fixas e móveis é denominado moitão e visa diminuir o esforço do operador na elevação de cargas.

Por exemplo, o moitão ilustrado acima reduz o esforço do operador em relação à carga P em
2 vezes.
3 vezes.
4 vezes.
8 vezes.